Per ordini superiori a 150 Euro spedizione gratuita.

Per le tariffe di spedizione in Italia cliccare qui

Versione italiana o inglese della scheda 

 
2812S - PRESSORI A MOLLA FILETTATI - Prod. SCU2812S - PRESSORI A MOLLA FILETTATI - Prod. SCU

Salva foto in alta risoluzione

   

 Stampa la scheda
 Invia la scheda

 Apri la pagina del catalogo
 Vai ai prodotti di pag.

Prodotto precedente Prodotto precedente
Prodotto successivo Prodotto successivo

2812S  

Prod. SCU

 

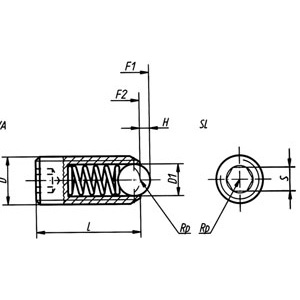
PRESSORI A MOLLA FILETTATI

spring plungers with thread

Tipo con sfera, esagono incassato e spinta maggiorata. In acciaio temprato, classe di resistenza 5,8, bruniti. Sfera temprata.

 Aggiungi al carrello  

NoteCod. Art.Cad.Cod. Prod.Filett. Ø D
M.
Forza min F1
N
Forza max F2
N
Ø sfera D1
mm
Lungh. pressore L
mm
Sporgenza sfera H
mm
Misura esag. S
mm
Peso c.ca
grammi
GiacenzaPeso ArtQTAMIN
2812S 5€ 1,78 58,5153140,92,51,2400,0010
2812S 6€ 1,98 636193,515132610,0020
2812S 8€ 2,52 857364,5181,5442830,0040
2812S 10€ 3,26 1061576232581130,0080
2812S 12€ 5,88 1268618262,5612370,0120
2812S 16€ 7,26 16906810333,5831930,0310
2812S 20€ 12,30 2011524012434,51064260,0640
2812S 24€ 21,30 2413027015485,51210090,10
 

News