Per ordini superiori a 150 Euro spedizione gratuita.

Per le tariffe di spedizione in Italia cliccare qui

Versione italiana o inglese della scheda 

 
2812B - PRESSORI A MOLLA FILETTATI - Prod. SCU2812B - PRESSORI A MOLLA FILETTATI - Prod. SCU

Salva foto in alta risoluzione

   

 Stampa la scheda
 Invia la scheda

 Apri la pagina del catalogo
 Vai ai prodotti di pag.

Prodotto precedente Prodotto precedente
Prodotto successivo Prodotto successivo

2812B  

Prod. SCU

 

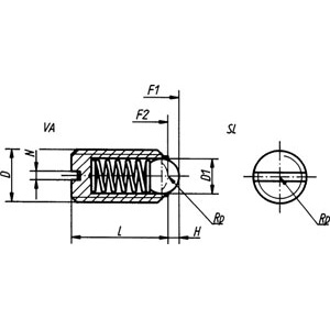
PRESSORI A MOLLA FILETTATI

spring plungers with thread

Tipo con sfera e intaglio a giravite. In acciaio temprato, classe di resistenza 5,8, bruniti. Sfera temprata.

 Aggiungi al carrello  

NoteCod. Art.Cad.Cod. Prod.Filett. Ø D
M.
Forza min F1
N
Forza max F2
N
Ø sfera D1
mm
Lungh. pressore L
mm
Sporgenza sfera H
mm
Largh. intaglio N
mm
Peso c.ca
grammi
GiacenzaPeso ArtQTAMIN
2812B 3€ 2,34 31,531,570,50,40,22610,0010
2812B 4€ 1,28 44102,590,80,60,611360,0010
2812B 5€ 1,44 56113120,90,80,96550,0010
2812B 6€ 1,64 69133,514111,55640,0020
2812B 8€ 1,98 815305161,51,23,58490,0040
2812B 10€ 2,56 10203561921,676690,0070
2812B 12€ 4,30 1230558222,52102640,010
2812B 16€ 5,52 166512510243,52,5241890,0240
2812B 20€ 7,76 208016012304,52,544,3680,0440
 

News